電氣試驗絕緣電阻、吸收比、極化指數的測量
添加時間 2025-11-20
返 回
1、概述
測量電氣設備的絕緣電阻是絕緣試驗中最基本、最簡便的方法。使用一臺兆歐表就可以進行。兆歐表輸出的是直流電壓。而測量絕緣電阻、吸收比、極化指數的區別是在時間的讀數上。由于這三種方法各有其用途和特點,可以互為補充,所以在《電力設備預防性試驗規程》和《電氣交接試驗規程》中都給予了說明。在國外,對極化指數的使用已經比較普遍,我國尚在逐步推廣之中。
這三種方法的特點是:
(1)絕緣電阻。讀數時間為1min 。數值應歸算到同一溫度和過去值相比較,即存在一個溫度修正的問題。它可以發現絕緣的整體和貫通性受潮、貫通性的集中缺陷。對局部缺陷反映不靈敏。
(2) 吸收比。采用讀數為1min 和15s(或 30s)的絕緣電阻的比值。我國采用15s。
該值和溫度無關,不用進行溫度的換算,便于比較。可以較好地判斷絕緣是否受潮,適用于電容量較大的設備。
(3) 極化指數。采用讀數為10min和1min的絕緣電阻的比值。該值和溫度無關,不用進行溫度的換算,便于比較。可以很好地判斷絕緣受潮。適用于各種電氣設備絕緣系統,特別是干式絕緣系統,如旋轉電機、電纜、干式變壓器等。
2、測量原理
在直流電壓的作用 下,絕緣中將通過電流,其變化是開始瞬間通過一個很高的電流,并很快地下降,然后緩慢地減少到接近恒定值為止。總的電流組成如下:
(1)泄漏電流iL 。它包括表面泄漏和容積泄漏電流。這是絕緣中帶電質點 在電場力的作用下發生移動而形成的。電流增加,絕緣的電阻就減少。它基本上和時間無關。
(2)電容電流ic 。它是由快速極化(電子、離子 極化)而形成的,是時間的函數,隨時間的增大而快速地減少,直至零。
(3)吸收電流ia 。它是由緩慢極化而形成的 (自由離子的移動),也是時間的函數,隨時間的增長而緩慢地減少,它和被試設備的受潮情況有關。
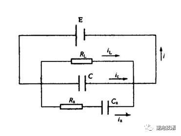
這三種電流的合成便是總電流 i 。在下圖中表示了絕緣在直流電壓作用下通過的電流和時間的關系曲線。在下圖中表示了在測絕緣電阻時被試絕緣的等值回路, 其中 RL表示泄漏電流回路的純電阻,C′表示電容電流 回路中電介質的幾何電容,Ra和 Ca表示吸收電流回路的等值電阻和電容,E 表示外加的直流電壓。

絕緣在直流電壓下通過的電流
T -時間;i-總電流;ia-吸收電流;ic-電容電流;iL-泄漏電流
從上圖可知,用初始電流和穩態電流之比 可以表 示絕 緣的受 潮程度,實 用上 用60s和15s時的絕緣電阻之比來表示,稱為吸收比 (DAR)。當絕緣受潮時,泄漏電流iL大,占總電流的比例也大,R 60″和 R 15″的數值就相接近,故比值接近于1 ;當絕緣干燥時,泄漏電流就小,占總電流的比例也小,R 60″比 R 15″就大,故比值就大于1,一般認為,R 60″/R 15″≥1.3為干燥絕緣。而極化指數 (PI) 的原理和吸收比相似, 所 用的時 間更 長,即R 10min/R 1min 。當絕緣受潮或污染時,接近于1;干燥時,PI 就大于1 。
測量絕緣電阻的儀表稱為兆歐表。其型式有手搖式,晶體管式和數字電子式。其輸出直流電壓等級有100 、250、500、1000 、2500 、5000V,對于不同電壓等級的電氣設備應使用不同電壓的兆歐表,最常用的是500、1000 V 和2500 V 等級的。數字電子式兆歐表在國外已得到較多的采用。

測絕緣電阻時的等值回路圖
3、影響絕緣電阻的因素
(1) 濕度影響。當空氣的相對濕度增大時,絕緣物就容易受潮,從而使絕緣電阻降低。要求相對濕度小于80 %。
(2) 溫度影響。當溫度升高時,絕緣的電導增大而使絕緣電阻降低。溫度的影響是很大的,為了進行比較必須對溫度進行修正,對于不同的電氣設備有不同的溫度修正系數,并且有一定的誤差。具體的修正系數將在下面各章中分別的說明。一般要求被試品及環境溫度不低于+5 ℃。
(3) 表面狀態的影響。表面的污染、受潮使絕緣物的表面電阻率下降,從而使絕緣電阻也下降。
(4)試驗電壓大小的影響。隨著試驗電壓的增加,絕緣電阻會減少,對良好的干燥絕緣的影響較小。所以對于不同電壓等級的電氣設備應采用不同電壓的兆歐表。
(5) 電氣設備上剩余電荷的影響。剩余電荷的存在使被測數值會出現虛假現象 (增大或減小),所以在測試前應對被試設備進行充分的放電。
(6)兆歐表容量的影響。兆歐表容量要求越大越好, 推薦采用1mA及以上的兆歐表。
(7)接線和表計型式的影響。對同一設備應采用同一型式的表計和接線方式,否則也會出現誤判斷。
4、分析判斷
(1)絕緣電阻應該大于規定的允許值。對不同的電氣設備和部件的絕緣電阻的允許值是不同的。
(2)應將測得的值和同一設備過去的數據 (包括出廠數據);各相之間的數據;同類設備的數據進行比較。由于影響絕緣電阻的因素太多,在國內外都強調將 “比較” 作為分析判斷的有力的措施。
(3) 在分析判斷時,應充分地排除各種影響因素,如濕度、溫度、表面污染等。
測量電氣設備的絕緣電阻是絕緣試驗中最基本、最簡便的方法。使用一臺兆歐表就可以進行。兆歐表輸出的是直流電壓。而測量絕緣電阻、吸收比、極化指數的區別是在時間的讀數上。由于這三種方法各有其用途和特點,可以互為補充,所以在《電力設備預防性試驗規程》和《電氣交接試驗規程》中都給予了說明。在國外,對極化指數的使用已經比較普遍,我國尚在逐步推廣之中。
這三種方法的特點是:
(1)絕緣電阻。讀數時間為1min 。數值應歸算到同一溫度和過去值相比較,即存在一個溫度修正的問題。它可以發現絕緣的整體和貫通性受潮、貫通性的集中缺陷。對局部缺陷反映不靈敏。
(2) 吸收比。采用讀數為1min 和15s(或 30s)的絕緣電阻的比值。我國采用15s。
該值和溫度無關,不用進行溫度的換算,便于比較。可以較好地判斷絕緣是否受潮,適用于電容量較大的設備。
(3) 極化指數。采用讀數為10min和1min的絕緣電阻的比值。該值和溫度無關,不用進行溫度的換算,便于比較。可以很好地判斷絕緣受潮。適用于各種電氣設備絕緣系統,特別是干式絕緣系統,如旋轉電機、電纜、干式變壓器等。
2、測量原理
在直流電壓的作用 下,絕緣中將通過電流,其變化是開始瞬間通過一個很高的電流,并很快地下降,然后緩慢地減少到接近恒定值為止。總的電流組成如下:
(1)泄漏電流iL 。它包括表面泄漏和容積泄漏電流。這是絕緣中帶電質點 在電場力的作用下發生移動而形成的。電流增加,絕緣的電阻就減少。它基本上和時間無關。
(2)電容電流ic 。它是由快速極化(電子、離子 極化)而形成的,是時間的函數,隨時間的增大而快速地減少,直至零。
(3)吸收電流ia 。它是由緩慢極化而形成的 (自由離子的移動),也是時間的函數,隨時間的增長而緩慢地減少,它和被試設備的受潮情況有關。
這三種電流的合成便是總電流 i 。在下圖中表示了絕緣在直流電壓作用下通過的電流和時間的關系曲線。在下圖中表示了在測絕緣電阻時被試絕緣的等值回路, 其中 RL表示泄漏電流回路的純電阻,C′表示電容電流 回路中電介質的幾何電容,Ra和 Ca表示吸收電流回路的等值電阻和電容,E 表示外加的直流電壓。

絕緣在直流電壓下通過的電流
T -時間;i-總電流;ia-吸收電流;ic-電容電流;iL-泄漏電流
從上圖可知,用初始電流和穩態電流之比 可以表 示絕 緣的受 潮程度,實 用上 用60s和15s時的絕緣電阻之比來表示,稱為吸收比 (DAR)。當絕緣受潮時,泄漏電流iL大,占總電流的比例也大,R 60″和 R 15″的數值就相接近,故比值接近于1 ;當絕緣干燥時,泄漏電流就小,占總電流的比例也小,R 60″比 R 15″就大,故比值就大于1,一般認為,R 60″/R 15″≥1.3為干燥絕緣。而極化指數 (PI) 的原理和吸收比相似, 所 用的時 間更 長,即R 10min/R 1min 。當絕緣受潮或污染時,接近于1;干燥時,PI 就大于1 。
測量絕緣電阻的儀表稱為兆歐表。其型式有手搖式,晶體管式和數字電子式。其輸出直流電壓等級有100 、250、500、1000 、2500 、5000V,對于不同電壓等級的電氣設備應使用不同電壓的兆歐表,最常用的是500、1000 V 和2500 V 等級的。數字電子式兆歐表在國外已得到較多的采用。

測絕緣電阻時的等值回路圖
3、影響絕緣電阻的因素
(1) 濕度影響。當空氣的相對濕度增大時,絕緣物就容易受潮,從而使絕緣電阻降低。要求相對濕度小于80 %。
(2) 溫度影響。當溫度升高時,絕緣的電導增大而使絕緣電阻降低。溫度的影響是很大的,為了進行比較必須對溫度進行修正,對于不同的電氣設備有不同的溫度修正系數,并且有一定的誤差。具體的修正系數將在下面各章中分別的說明。一般要求被試品及環境溫度不低于+5 ℃。
(3) 表面狀態的影響。表面的污染、受潮使絕緣物的表面電阻率下降,從而使絕緣電阻也下降。
(4)試驗電壓大小的影響。隨著試驗電壓的增加,絕緣電阻會減少,對良好的干燥絕緣的影響較小。所以對于不同電壓等級的電氣設備應采用不同電壓的兆歐表。
(5) 電氣設備上剩余電荷的影響。剩余電荷的存在使被測數值會出現虛假現象 (增大或減小),所以在測試前應對被試設備進行充分的放電。
(6)兆歐表容量的影響。兆歐表容量要求越大越好, 推薦采用1mA及以上的兆歐表。
(7)接線和表計型式的影響。對同一設備應采用同一型式的表計和接線方式,否則也會出現誤判斷。
4、分析判斷
(1)絕緣電阻應該大于規定的允許值。對不同的電氣設備和部件的絕緣電阻的允許值是不同的。
(2)應將測得的值和同一設備過去的數據 (包括出廠數據);各相之間的數據;同類設備的數據進行比較。由于影響絕緣電阻的因素太多,在國內外都強調將 “比較” 作為分析判斷的有力的措施。
(3) 在分析判斷時,應充分地排除各種影響因素,如濕度、溫度、表面污染等。








